伸縮接頭系列
名稱:SSJB(AY)型壓蓋式松套伸縮接頭
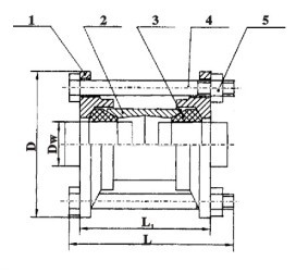
壓蓋式松套伸縮接頭性能特點:
SSJB(AY)型壓蓋式松套伸縮接頭是在松套伸縮接頭原有性能的基礎上,增設限位裝置,在壓蓋式松套限位伸縮接頭最大伸縮量處用雙螺母鎖定。這樣就實現管道在允許的伸縮量中可以自由伸縮,一旦超過壓蓋式松套限位伸縮接頭最大伸縮量,就起到限位,這樣就有效的確保壓蓋式松套限位伸縮接頭管道的安全運行,特別適用于有震動或有一定斜度及在拐彎的管路中的選擇。
壓蓋式松套限位伸縮接頭安裝注意事項:
SSJB(AY)型壓蓋式松套伸縮接頭適用于兩邊與管子插接,無需焊接,機構合理,密封可靠,安裝快捷方便。

SSJB(AY)型壓蓋式松套伸縮接頭材料表
| 序號 | 名稱 | 數量 | 材料 |
| 1 | 壓蓋 | 2 | QT400-15、Q235A、ZG230-450、1Cr13、20 |
| 2 | 套筒 | 1 | Q235A、20、16Mn、1Cr18Ni9Ti |
| 3 | 密封圈 | 2 | NBR、CR、FPM、NR |
| 4 | 螺柱 | n | Q235A、35、1Cr18Ni9Ti |
| 5 | 螺母 | n | Q235A、20、1Cr18Ni9Ti |
SSJB(AY)型壓蓋式松套伸縮接頭基數據表
| 公稱通徑DN | 管子外徑DW | 外形尺寸 | n-Th | |||
| L1 | L | D | 0.25-1.6Mpa | 2.5-6.4Mpa | ||
| 65 | 76 | 180 | 208 | 155 | 4-M12 | 4-M12 |
| 80 | 89 | 165 | ||||
| 100 | 108 | 190 | 4-M16 | |||
| 114 | 195 | |||||
| 125 | 133 | 215 | ||||
| 140 | 225 | |||||
| 150 | 159 | 220 | 245 | 4-M16 | 6-M16 | |
| 168 | 255 | |||||
| 200 | 219 | 310 | ||||
| 250 | 273 | 223 | 375 | 6-M20 | 8-M20 | |
| 300 | 325 | 220 | 273 | 440 | ||
| 350 | 355 | 470 | 8-M20 | 10-M20 | ||
| 377 | 490 | |||||
| 400 | 406 | 520 | ||||
| 426 | 540 | |||||
| 450 | 457 | 570 | 10-M20 | 12-M20 | ||
| 480 | 590 | |||||
| 500 | 508 | 625 | ||||
| 530 | 645 | |||||
| 600 | 61O | 730 | ||||
| 630 | 750 | |||||
| 700 | 720 | 850 | 12-M20 | 14-M20 | ||
| 800 | 820 | 290 | 355 | 965 | 12-M24 | 16-M24 |
| 900 | 920 | 1065 | 14-M24 | 18-M24 | ||
| 1000 | 1020 | 1165 | ||||
| 1200 | 1220 | 1365 | 16-M24 | 20-M24 | ||
| 1400 | 1420 | 377 | 1590 | 18-M24 | 24-M27 | |
| 1500 | 1520 | 1690 | ||||
| 1600 | 1620 | 1795 | 20-M27 | 28-M27 | ||
| 1800 | 1820 | 2000 | 22-M27 | 32-M30 | ||
| 2000 | 2020 | 2200 | 24-M27 | 32-M30 | ||
| 2200 | 2220 | 400 | 2420 | 26-M30 | ||
| 2400 | 2420 | 2635 | 28-M30 | |||
| 2600 | 2620 | 400 | 2835 | 30-M30 | ||
| 2800 | 2820 | 3040 | 32-M33 | |||
| 3000 | 3020 | 3240 | 34-M33 | |||
| 3200 | 3220 | 3440 | 36-M33 | |||
| 3400 | 3420 | 490 | 3640 | 38-M33 | ||
| 3600 | 3620 | 3860 | 40-M33 | |||
上一篇:【SSJB-3(BY)型壓蓋式限位伸縮接頭】
下一篇:【VSSJA/AF型法蘭松套伸縮接頭】
關鍵字:橡膠接頭、防水套管、傳力接頭、伸縮接頭、橡膠止回閥、波紋補償器
鞏義市昌旺給排水材料廠 版權所有 地 址:河南省洛陽市西工區唐宮西路44號置隆花園10樓2單元1801室 管理入口
豫ICP備16036159號-4
電 話:15037198065 (微信同號) Q Q:2914005008
郵 箱:[email protected] 2914005008(在線洽談)
